
SEO是一个混乱的空间,需要数字营销专家每天都在突破界限。全球的SEO们总是心存疑虑,因为他们经常担心即将到来的Google更新或其他类型的惩罚。当他们最害怕的事情成真时,他们会陷入疯狂,试图找到修复方法,进行损害控制,试图将站点恢复到以前的辉煌。
如果您是经历过这种紧张局势的人,这篇文章可以帮助您预见Google对其未来算法更新的计划并提前做好准备。然而,谷歌并不总是正确的。
这篇文章将使您在了解将在近些年定义SEO格局的最关键的SEO因素方面领先一步。对于想要超越技巧和技巧来创建SEO和数字营销策略的SEO专业人士来说,这应该会让他们大开眼界这将产生长期的影响。
方法
我们分析了谷歌在过去几年中一直致力于或实施的20多项主要专利。根据技术类型的不同,其中一些可能需要数年时间才能真正出现在Google搜索中。
总体而言,我们将指出近年SEO和数字营销人员应密切关注的11个主要领域。
- 更清晰的内容相关性和意图
- 多语言
- 苹果 = 应用程序,但谷歌 = 谷歌 + 应用程序
- 基于位置的搜索的突出地位
- 赋能在线社区并增加用户对本地搜索的评论
- 语音识别——未来的搜索模式
- 图像优化和消歧
- 重新调整排名参数
- 跟踪视频和广告投放中的事件
- 量身定制的搜索结果和更快的访问
- 避免使用受版权保护或第三方的多媒体内容
1. 更清晰的内容相关性和意图
如果您接触SEO已有一段时间,您可能已经知道Google创始人编写的经典页面排名算法。

谷歌PageRank算法
PageRank算法
我们大多数人现在都知道,只有一小部分PageRank算法在今天对网页进行排名时保持活动状态。PR算法已被SEO社区滥用,Google意识到它需要不断发展以向其用户提供相关的排名和内容。但是,Google内部可能仍在使用PageRank算法。
虽然这是一项开创性的努力,但搜索引擎空间从那时起已经发展,主要关注提供准确的搜索结果。此外,很大一部分功劳归功于Google在开发专利互联网技术方面的持续研发,这些技术为像您这样的数百万家公司提供出色的搜索体验和增加收入铺平了道路。
在发现PageRank算法被滥用之后,谷歌明白需要将内容相关性作为主要的排名因素进行评估。从那时起,谷歌一直在投入大量时间来创建可以在页面之间建立相关上下文的相关技术。
就我们的经验而言,我们已经看到网站创建的内容具有紧密的主题,并在主要关键字的SERP中领先。这就是对内容聚类的强调发挥作用的地方。
谷歌的内容聚类专利发出了类似的信号。该算法主要考虑一个主题,然后从主主题创建子主题的距离矩阵。子主题与主主题越接近,它出现在搜索结果中的机会就越大。
事实上,对聚类的强调似乎是相当主流的。HubSpot的营销软件显示了与主要主题相关的副主题的相关百分比,这非常深刻。
您可能知道,HubSpot鼓励其用户在三个不同级别上创建内容。当您在下一个级别创建主题时,它会提供相关系数并让您了解主题之间的联系程度。
很多实施HubSpot技术的人都承认,在遵循内容创建的方法后,他们的访问量和查询量增加了,这只不过是一种内容聚类形式。

主题集群(图片来源:HubSpot)
HubSpot方法中的内容集群的想法。HubSpot的营销软件为在主要主题或支柱内容下创建的所有子主题提供相关值。
通过这项专利,谷歌正在寻找内容创建者将内容构建为具有高度相关性的集群,他们可以进一步分析参与度指标以授予相关排名。
还有另一项谷歌专利,名为“问题回答以填充知识库”,似乎增强或支持整个内容集群练习。谷歌还通过将其与个性化相结合来增强上下文相关性。其中一个例子是动态摘要生成器的专利,它强调针对从帐户、cookie或设备获取的用户创建不同的数据摘要。
除此之外,谷歌的一项专利也反映了对上下文相关性的重视,该专利围绕参考上下文来推广广告。该专利明确提到了网页内的推广,暗示了内容的更紧密联系和上下文相关性。
SEO应该怎么做?
专注于关键字和内容映射并创建相关内容。这将是双向的,即在SERP中并帮助发布商从广告中获得更多收益。
2. 多语言
多语言搜索结果越来越受到重视。随着基于应用程序的环境获得动力,我们看到谷歌和苹果都更加重视多语言应用程序和搜索。
虽然Apple仅限于应用程序,但Google围绕搜索建立的商业模式很大程度上源自多语言网站。截至目前,世界上超过50%的人口没有互联网。在人口统计方面,这些人最有可能熟悉他们的母语而不是英语。

每100名居民的互联网用户数(图片来源: 国际电信联盟)
着眼于此,谷歌已经推出了多项专利,这些专利将赋予多语言网站更多的权重。
众包人工翻译
谷歌已获得一项网络技术专利,该技术使任意网站的开发人员能够创建人工翻译的“选择加入”选项。
虽然我们一直在浏览器上接收基于机器的翻译,但翻译质量明显不足是众所周知的。这就是谷歌现在投资于引入人工翻译以获得更重要和更可靠体验的技术的原因。
尽管如此,您可以在近几年的准确翻译、多语言网站和内容方面下大赌注。
3. 苹果 = 应用程序,但谷歌 = 谷歌 + 应用程序
自从应用驱动的环境成为iPhone的主流以来,搜索领域也发生了巨大的变化。移动设备使用量增加,反过来又增加了对移动应用程序和移动网站的需求。
在早些年,我们看到选择移动网站或制作移动应用程序之间的混淆。很多人构建应用程序而不是移动网站,然后等待在应用程序商店中下载,这从未发生过。
突然,拥有数百万应用程序的应用程序商店在房间里发现了一头巨大的大象:应用程序发现。

发现问题(图片来源:Nielsen)
长期以来,App发现一直是Apple和Google的一个挥之不去的问题,Google终于率先解决了这个问题,并通过Google搜索和应用商店搜索提供了上下文发现。
授予Google的一项专利强调根据应用程序的社交提及对应用程序商店应用程序进行排名。该专利指出,将分析来自社交媒体网站的许多信号,然后得出综合分数来对应用程序进行排名。
SEO应该怎么做?
由于专利属于谷歌,您可能会期望在Play商店中的结果比在Apple App商店中更明显。
因此,对于SEO,2021年关注社交媒体和影响者活动变得很重要,如果应用程序的增强已经成为您商业模式的中心舞台。
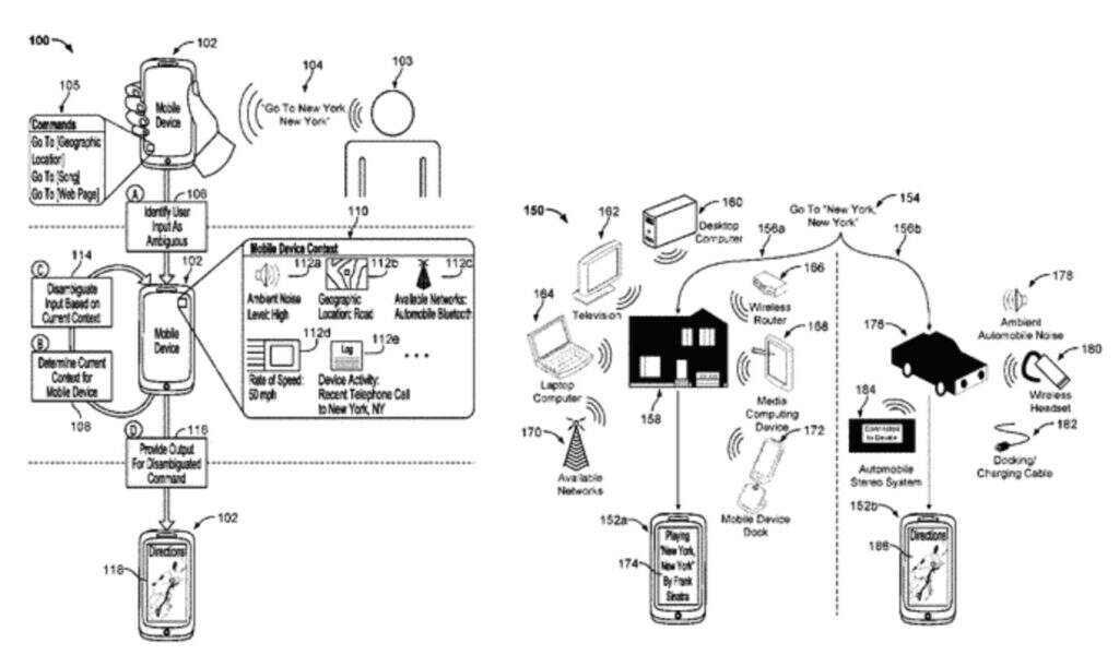
4. 基于位置的搜索的突出地位
我们已经看到谷歌如何专注于通过内容聚类提供上下文搜索结果,以下基于上下文消除输入歧义的专利将这一想法提升到一个全新的水平。
根据该专利,模糊的用户查询可以根据用户设备的实时位置、用户移动速度(乘车等)、设备类型(移动或桌面)消除歧义,以及其他因素。
什么是二义性查询?
歧义查询只不过是通常没有明确搜索意图的查询。许多营销人员追求长尾搜索查询的原因之一是因为他们有明确的搜索和购买意图,因此每次点击费用也很高。

消除关于位置、运动和其他因素的歧义。(图片来源:FRESHPatents)
然而,谷歌得到了很多搜索查询,这些查询在上下文方面可能很广泛,而就意图而言则是模棱两可的。这些查询的主要原因是不合格的用户,他们可能自己不知道搜索的上下文。
所以现在,Google不仅会帮助他们了解上下文,还会为他们提供上下文结果,即使查询不是那么精简。
SEO应该怎么做?
这无疑属于本地搜索优化的领域。因此,搜索引擎优化经理必须考虑到这一点,并保持他们通过本地搜索引擎优化清单以及与目标关键字相关的广泛术语列表。
因此,如果你是一家在繁忙街道上卖寿司的餐馆,你最好在谷歌地图上写下你的名字;在您的餐厅名称或潜台词中使用“寿司”,并在Google或其他评论网站上吸引一些评论。这将我们带到下一个主题,用户评论。
5. 赋能在线社区并增加真实用户评论以主导本地搜索
除了消除查询歧义之外,Google还提出了另一项专利,旨在确定从用户评论中得出的实体属性。
在这里,实体可以指任何可以自然地吸引用户评论的产品可以上市和销售的网站。谷歌可能会非常重视实体为本地搜索引擎优化利益列出的谷歌评论。
该专利指出,谷歌可能会专注于从一组元数据中获取结果,其中包括算法、硬件和大量计算机可读媒体的结合,以分析用户评论,然后将其与列出的产品或网站相关联。实体。
这间接意味着Google专注于确定真正的用户评论,这些评论可为任何业务提供可靠和真实的洞察。这也适用于允许Google从其服务器收集其数据的网站。
放弃负面评论是一种常见的做法。除了谷歌之外,许多其他公司也在与同样的威胁作斗争,即依靠评论来确定用户的资格并产生销售。亚马逊打击它们已经有一段时间了。

亚马逊删除负面评论(图片来源:AMZ Tracker)
另一项名为在线社区管理的声誉和参与系统的专利在验证和吸引更好的用户生成数据方面发挥着同样的作用——这是简化知识图谱的另一项努力。
该专利旨在识别真正的用户,并根据他们在在线论坛中的贡献赋予他们权重。该值是根据多个主题的多个因素计算得出的。在搜索相关查询时,将优先考虑这些答案、页面或链接。
实现此目的的另一种方法是增强搜索查询的形式。在一项名为使用增强搜索查询提供搜索结果的专利中,指出搜索结果与实体之一(真人)直接相关。由于Google plus已不在,我们可以预期Google会在很大程度上依赖LinkedIn来做到这一点。
SEO应该怎么做?
如果您正在处理移动应用程序,请成为论坛中的思想领袖。如果您正在处理电子商务,请尝试成为亚马逊卖家论坛的专业人士,同样如此。将您的技术团队整合到营销中以获得更好的结果。
关于评论,请了解它将成为未来几年本地SEO的重要因素。因此,如果您正在考虑带有评论的黑帽SEO,最好重新考虑您的决定。
6. 语音识别——未来的搜索模式
众所周知,谷歌在语音识别领域已经开发了很多技术。而且,为什么不呢,当3.2亿用户使用语音搜索进行搜索时,投资这个领域很有意义。
这些数字不仅限于Google。作为记录,必须指出的是,每个节日季都会售出超过400万台Amazon Echo设备。这是一个相当大的数字。事实上,据世界领先的研究公司Gartner称,到2020年,将近一半的搜索将使用语音进行。
查看专利,我们可以看到谷歌想要识别长语音中的关键字。它有什么建议?
机器学习程序现在正在处理谷歌算法中的很多事情。Google收集了大量元数据,搜索和使用内容的整个过程将非常直观。这正是谷歌试图通过语音实现的目标。

使用Siri进行语音搜索
在Siri的网页上,你可以清楚地了解到这些公司(包括谷歌)希望人机交互非常直观,让语音搜索成为主流。
有了所有这些语音助手,这些公司,无论是亚马逊、苹果还是谷歌,实际上都希望我们像人类一样与语音服务进行对话。但是,Google要指出相关结果,仍需要一些数据点,例如关键字,以缩小上下文范围并提供准确的结果。这就是谷歌专利试图实现的目标。

Amazon Echo(图片来源:亚马逊)
SEO应该怎么做?
由于很多事务性查询自然会被亚马逊吸引,并且他们正在销售大量Echo,因此谷歌希望在未来几年内确定这一点。因此,SEO经理必须在2020年从语音搜索的角度专注于优化他们的网站。
7. 图像优化和消歧
谷歌已经申请了一项关于上下文消歧查询的专利,在该专利中,用户可以直接要求搜索服务向他提供有关他们当前在其设备中查看的图像的实时信息。

根据上下文消除歧义的查询(图片来源:FRESHPatent)
顾名思义,这将创建上下文消除歧义的查询,其中搜索服务将拨打子图像的存储库,然后给出语音输出——告诉用户当前正在查看的对象以及对象的真实情况。
我们可以假设增强的活动层也可以接管屏幕,以便轻松访问有关正在查看的对象的信息。这是因为当前的Android 8和9是在此基础上构建的。

Android one ( Computerworld )中的画中画功能
就视觉准确性和用户体验而言,谷歌已经有了明确定义的材料设计原则来支持它。
分布式图像搜索专利的目的
还有一项专利重申了谷歌对图像识别和搜索的关注。在一项名为分布式图像搜索的专利中,谷歌工程师给出了一个有趣的示意图。该专利基于识别和返回与被搜索图像的主题具有相似形状和颜色的图像主题。
谷歌强调这一点的关键原因是图像可以驱动大量搜索查询。
例如,如果你想向你的朋友解释一件新衣服,你最好拿出一张图片给他们看,而不是试图描述它的样子。您可能通过名称知道衣服类型,但您的朋友可能不知道。这是图像可以触发快速理解并允许用户更快地到达ZMOT的地方。
这里的主要目标是帮助人们根据他们在搜索中放置的图像获得更好、更准确的图像/搜索结果。因此,如果您搜索某种颜色的衬衫的图像,Google 将提供类似的图像以及指向它们缓存图像的相应网页的链接。

分布式图片搜索(图片来源:FRESHPatents)
根据Neil Patel的说法,现在超过10%的Google搜索是由images.google.com驱动的。这是一个巨大的数字,其结果也已成为重要的排名因素。
SEO应该怎么做?
对于与电子商务网站合作的SEO经理来说,这是一座金矿。由于谷歌结合机器学习来识别图像,图像直方图也被认为可以找到更好的图像。
换句话说,如果您经营的是电子商务商店,请尝试在网页上使用相关图片。将其与高质量的库存照片或更好的照片拍摄和编辑配对,以突出颜色。但是,请勿更改颜色。
8. 重新调整排名参数
Google最近获得了一项在大型数据集上对文档进行排序的专利 。这是Google长期以来一直在努力解决的垃圾邮件问题的强大解决方案。
众所周知,一个人拥有的反向链接的数量是SERP的永久决定因素之一。多年来,它一直被Black Hat SEO所利用,该专利旨在解决该问题。
这项技术如何运作?
该专利关注的事实是仅获得反向链接是不够的。因此,它的作用是监视一段时间内围绕导航链接的用户行为,然后得出推论。该专利谈到了实现这一目标的一系列信号。
当导航行为被确定时,链接被赋予一个值,该值被传递到它链接到的页面。
这对于出现在社交媒体网站上的链接非常有效。这是从用户生成的大型数据集验证知识图谱的另一个示例。
SEO应该做什么?
专注于第一点,创建紧密结合的内容集群。这将防止您出现在与上下文无关的搜索结果中,避免不必要的反向链接,这些反向链接可能会注册较少的专利中提到的导航活动。
您还应该进行有针对性的外展活动,以便您出现在其他网站上的链接获得活动,从而向您的页面发送自然流量。
在进行内容联合时也应该小心。考虑将内容聚类以实现高相关性的想法,并相应地计划您的联合活动。
9. 跟踪视频和广告投放中的事件
YouTube上的视频或页面上的嵌入视频已成为许多公司的重要内容资产。在这场视频海啸中,仅仅计算视频的总观看次数是不够的。人们必须通过量化谷歌已经在做的数据来理解视频中发生的用户行为。
用于跟踪用户活动和提供网络分析的专利专注于汇总所有用户操作,然后将其反馈给服务器以赋予视频内容价值并放置上下文广告。

YouTube视频中的事件
嵌入式视频具有额外的用户操作,例如“稍后观看”、“分享”、“打开和关闭字幕”和“相关视频”。
谷歌希望收集数据的一些因素:
- 视频的点击次数
- 用户观看视频的平均时长
- 人们更喜欢跳过视频时间线中的哪个位置?
- 他们是在看广告还是跳过广告?
- 他们是用字幕等方式看的吗?

YouTube搜索
谷歌已经在搜索栏上实现了跳到时间。人们经常预测并点击搜索栏以查看他们想要的部分内容,而Google正在帮助用户做到这一点。
这些数据点与其他元数据结合时,可以提供关于视频内容的参与因素及其与与之配对的网络内容的上下文对齐的强烈信号。
还确定了另一项跟踪媒体内容中的对象的专利。它的作用是在机器学习的帮助下分析媒体中的对象,然后找出搜索的上下文。
搜索信号可以是视频中的帧暂停、对多媒体内容时间线内的一部分的回放等。另一项专利更进一步,该专利执行面部识别、跟踪徽标和标签等,出现在视频中,然后将它们与搜索查询相关联。
SEO应该怎么做?
SEO经理应该了解视频作为排名因素的重要性,该因素只会在2021年增加。虽然制作更多吸引目标受众的视频内容是一个有用的建议,但这需要付出代价。对于财大气粗的大公司来说,这无疑是他们可以专注的事情。
对于较小的公司,他们需要以较小的预算制作极具吸引力的视频或使用其他用户的视频。如果他们想这样做,SEO经理必须花更多时间寻找视频以及哪些视频与他们的内容相符。
就我们的经验而言,我们建议将视频作为内容的延伸或将一个块连接到整个内容创意。
10. 量身定制的搜索结果和更快的访问
这已经在很大程度上推出了,搜索结果迎合了用户的喜好。名为“基于用户参与提供内容”的专利使用物理资源来缓存和分析用户之前与内容及其各种元素的交互。
数据被分析和记住。下次用户搜索类似或上下文相关的查询时,某些站点可能会比其他站点获得更好的位置。
如果您想对此进行测试,您可以搜索您经常搜索的查询,然后在Chrome上以隐身模式搜索相同的查询。结果会有所不同。您之前接触过的网站会比您没有接触过或打开过的网站排在最前面。但是,在隐身模式下,您不会注意到这种偏好。

Chrome隐身模式
隐身模式不会考虑您过去的浏览历史。
一项关于更快地检索搜索结果的预渲染内容的专利进一步增强了这一点。换句话说,如果您定期搜索多个关键字,搜索结果页面将立即出现,因为偏好将预先呈现给个人用户。
SEO应该做什么?
最明显的事情是至少与所有可能登陆您网站的潜在客户进行一次互动。要做到这一点,最简单的方法之一就是专注于付费营销。
使用目标关键字创建网页,然后运行 PPC或Facebook活动以吸引大量用户登陆。然后,下次他们搜索类似的内容时,您的网站可能会比竞争对手先出现几个位置。
话虽如此,您希望避免将适度的流量或不相关的流量吸引到站点。虽然您想排名更高,但同时也不想被Google视为无关紧要。
11. 避免使用受版权保护或第三方的多媒体内容
内容抄袭一直是搜索引擎、托管服务提供商和其他实体的强大恶魔。如果不检查抄袭,内容创作者永远不会想出新内容,互联网永远不会是现在的样子。
许多内容窃取以文本形式发生,这很容易识别。但是,如果有人窃取了您的视频或音乐或任何形式的多媒体内容的一部分,会发生什么情况?你怎么检测到的?好吧,谷歌似乎正在加强对它的控制。

在YouTube上查找和识别受版权保护的音乐已经有一段时间了。但是,谷歌现在正在努力将权利授予内容的真正制作者。谷歌希望所有类型的用户都制作多媒体内容,并且不会容忍窃取这些内容。
一项名为识别包含第三方内容的参考内容的Google 专利揭示了一种技术,可识别任何用户在其内容中使用的受版权保护或第三方内容。换句话说,谷歌想要奖励内容的原始所有者,同时惩罚抄袭者。
SEO应该怎么做?
避免使用第三方多媒体内容,例如受版权保护的音乐或属于唱片公司的部分视频等。购买股票视频和其他多媒体内容或创建免费股票图像存储库。让设计师投入工作,以创建结合免费库存图像、矢量和图标的迭代。此外,注册免费股票音乐。您还可以在SoundCloud上联系艺术家并寻求他们的许可,以在您的内容上使用他们的作品。他们中的很多人需要曝光,可能不会拒绝你的提议。
小结
从主题上看这些专利表明,谷歌非常注重让自己及其整个环境对本地企业更有价值。这可以通过调整知识图、聚合评论的上下文准确性、基于位置的数据以及使用社交媒体验证其中的一些数据点来实现。谷歌已经确定了自己的方向。
我们相信本地SEO将在2022年底卷土重来,重点放在位置、语音、视频、评论和社交媒体上。虽然许多SEO可交付成果可能会在2022年问世,但SEO的战略倾向应该像激光一样关注整体结果和投资回报率的上下文相关性。
免责声明
- 本站文章均为原创,除非另有说明,否则本站内容依据 CC BY-NC-SA 4.0 许可证进行授权,转载请附上出处链接及本声明,谢谢。
- 本站提供的资源(插件或主题)均为网上搜集,如有涉及或侵害到您的版权,请立即通过邮箱 admin@wpwpp.com 通知我们。
- 本站所有下载文件,仅用作学习研究使用,下载后请在 24小时内 删除。请支持正版,切勿用作商业用途。
- 因代码可变性,本站不保证兼容所有浏览器、不保证兼容所有版本的 WordPress,不保证兼容您安装的其他插件。
- 本站保证所提供资源(插件或主题)的完整性,但不含授权许可、帮助文档、XML文件、PSD、后续升级等。
- 使用该资源(插件或主题)需要用户有一定代码基础知识!本站只提供汉化及安装教程,仅供参考。由本站提供的资源对您的网站或计算机造成严重后果的,本站概不负责。
- 有时可能会遇到部分字段无法汉化,同时请保留作者汉化宣传信息,谢谢!
- 本站资源售价只是赞助和汉化辛苦费,收取费用仅维持本站的日常运营所需。
- 如果您喜欢本站资源,开通会员享受更多优惠折扣,谢谢支持!
- 如果网盘地址失效,请在相应资源页面下留言,我们会尽快修复下载地址。
- 本站网址:wpwpp.com,联系邮箱:admin@wpwpp.com。















暂无评论内容